FPGA acceleration of proteomics data processing

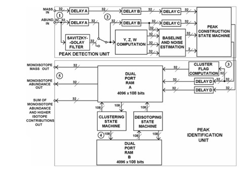
MOTIVATION: High-resolution mass spectrometers generate large data files that are complex, noisy and require extensive processing to extract the optimal data from raw spectra. This processing is readily achieved in software and is often embedded in manufacturers' instrument control and data processing environments. However, the speed of this data processing is such that it is usually performed off-line, post data acquisition. We have been exploring strategies that would allow real-time advanced processing of mass spectrometric data, making use of the reconfigurable computing paradigm, which exploits the flexibility and versatility of Field Programmable Gate Arrays (FPGAs). This approach has emerged as a powerful solution for speeding up time-critical algorithms. We describe here a reconfigurable computing solution for processing raw mass spectrometric data generated by MALDI-ToF instruments. The hardware-implemented algorithms for de-noising, baseline correction, peak identification and deisotoping, running on a Xilinx Virtex 2 FPGA at 180 MHz, generate a mass fingerprint over 100 times faster than an equivalent algorithm written in C, running on a Dual 3 GHz Xeon workstation.